正式介绍作品前先说明一下,我是湖南文理学院计算机与电气工程学院的一名大三学生,我叫陈海涛。作品全部内容均为个人创意、个人设计并手工制作,后期会考虑写论文投期刊,So!!严禁抄袭!抄袭必究!
该作品是用来参加“湖南省物联网竞赛”的作品,但是很遗憾并没有获奖。这是我第一次写博客,写这篇博客的目的,一是为了纪念一下自己半个月的付出,二是想跟大家推荐一下ShineBlink物联网开发板和机智云平台,我不是托!我不是托!我真不是托!真的就是单纯的向跟我一样是学生党的伙伴们推荐一下,确实挺容易上手开发的。好了,下面开始介绍我的“牛马”作品!!
目录
1.作品简介
2.演示视频
3.功能需求及设计
3.1 远程操控和互动功能
3.2 排泄物清理和空气净化功能
3.3 智能投食功能
4.硬件设计
4.1 微处理器
4.2 压力传感器
4.3 舵机模块
5.软件设计
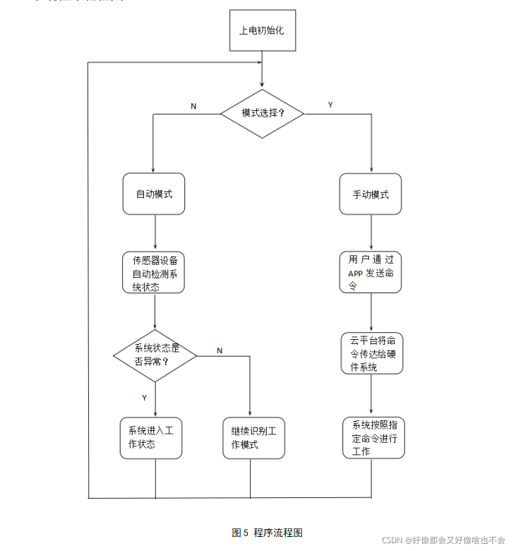
5.1 程序流程图
5.2 机智云平台
5.3 网关设备
5.4 App开发
6.作品实物展示
7.总结
1.作品简介
目前饲养宠物的人越来越多,但绝大多数人每天都要工作,偶尔还需出差,短期内家中宠物无人照顾的问题成为了很多宠物主人的烦恼。为了解决人们因工作、出差、旅游等短期时间内家中宠物无人照顾的问题,我们基于ShineBlink物联网开发板、机智云平台和各类传感器模块研究设计了一套针对短期内宠物无人照顾的智能宠物屋系统。
用户可以根据App端实时显示的宠物量盆重量,任意选择投放哪种以及投放多少量的粮食、也可以远程操控粪便清理器来清理宠物排泄物、或者依据App端显示的数据,决定是否打开空气清新剂喷雾器来改善空气质量。除此之外,本系统也支持依靠压力传感器,实时检测粮盆质量来自动研判是否打开投食器进行补粮、或者实时监测空气质量来自动研判是否打开空气清新剂等无需宠物主人参与的功能。经过实验测试结果表明,本系统工作稳定,可以很好的保证即使在无人照顾的情况下,宠物的饮食以及排便等日常生活依旧可以正常进行,具有较高的推广价值。
2.演示视频
智能宠物屋系统
3.功能需求及设计
3.1 远程操控和互动功能
用户可以通过手机App实时查看系统的测量数据如食物或水的重量、空气清新质量等,实时了解宠物目前的情况,根据实际情况,从而决定是否需要投食或净化空气,同时还可以远程操作粪便清理器来清理宠物排泄物,或者是控制逗猫棒、激光笔之类的玩具来远程与宠物进行互动,让宠物即使呆在笼子里也不会孤独无聊,基本解决了宠物的生活问题,非常适用于主人短期外出,家中宠物无人照顾的场景。

3.2 排泄物清理和空气净化功能
宠物屋内放置有清理宠物排泄物功能的自制工具和空气质量传感器,当宠物排便后,若出现臭味或其他异味时,置于房间内的空气质量传感器会将数据反馈给处理器,处理器再通过云平台将数据反馈给手机APP,用户便能通过手机操作启动空气清新剂喷雾装置,喷出对宠物无伤害的气体来净化空气,确保宠物所在环境没有异味,改善宠物居住的环境。同时用户也可以在App端随时控制置于房间内的粪便清理器工作,实现清理宠物排泄物的功能。

3.3 智能投食功能
通过“压力传感器”可以实时检测宠物粮盆的重量,并实时与系统的设定值进行比较,通过“靠近传感器”可以实时监测当前宠物是否滞留于粮盆附近,当“压力传感器”读取的重量低于系统的设定值时,如果此时“靠近传感器”反馈的信息是宠物没有位于粮盆附近,那么投食器便会自动工作,开始往粮盆里面补充粮食,但如果“靠近传感器”反馈的信息是宠物当前位于粮盆附近,出于不惊吓到宠物考虑,即使此时粮盆重量低于系统的设定值,投食器也不会开始工作,直至宠物离开粮盆附近之后,投食器才会自动补充粮食。



4.硬件设计
宠物屋由微处理器,各类传感器模块,继电器模块、舵机模块,电机模块,WIFI模块和云平台等多部分组成。微处理器、云平台和手机APP通过WIFI模块进行通信,传递和反馈数据,最后在手机APP上显示出来,用户则可通过手机APP进行远程操作,传感器模块包括压力传感器,靠近传感器,空气质量传感器等,分别对食物和水的重量、宠物是否处于粮盆附近、宠物屋的空气质量等进行检测。继电器模块用来控制电机以及喷雾器的工作状态,舵机模块用来控制投放不同种类的食物,电机用来控制粪便清理器,完成清理宠物排泄物的操作。系统框图如下图所示。

4.1 微处理器
系统选用ShineBlink开发板作为核心处理器,进行整个系统的控制和工作,ShineBlink是一款主打物联网开发的最小应用系统板,以简易开发为主,芯片内置编译器,无需安装任何开发环境、Win、Mac、Linux电脑任意文本编辑器即可开发,开发环境简单,便于上手编写程序;其次,功能代码实现简单,无需进行大量的初始化,仅用数行代码即可实现多种传感器功能,上手简单、开发轻松!ShineBlink开发板如下图所示。

4.2 压力传感器
压力传感器选用型号HX711压力称重传感器,是一款专为高精度称重传感器而设计的24位A/D转换器芯片。与同类型其它芯片相比,该芯片集成了包括稳压电源、片内时钟振荡器等其它同类型芯片所需要的外围电路,具有集成度高、响应速度快、抗干扰性强等优点。在智能宠物屋中用于对宠物盒里的口粮和水进行称重,判断是否需要添加粮食和水,同时将测量的数据反馈给微处理器。压力传感器如下图所示。

4.3 舵机模块
舵机模块选用型号为DS32系列的数字舵机,扭矩大,精度高,性能好,旋转角度可控,供电电压在6-8.4v,工作电流可达1-2A,通过PWM信号控制,工作频率在50Hz-100Hz,用于控制食物种类的选择和粮食的投放,操作方便,效果显著。
5.软件设计
5.1 程序流程图

5.2 机智云平台
机智云平台是机智云物联网公司经过多年行业内的耕耘及对物联网行业的深刻理解,而推出的面向个人、企业开发者的一站式智能硬件开发及云服务平台。平台提供了从定义产品、设备端开发调试、应用开发、产测、云端开发、运营管理、数据服务等覆盖智能硬件接入到运营管理全生命周期服务的能力。
机智云平台为开发者提供了自助式智能硬件开发工具与开放的云端服务。通过方便的自助工具、完善的SDK与API服务能力最大限度降低了物联网硬件开发的技术门槛,降低开发者的研发成本,提升开发者的产品投产速度,帮助开发者进行硬件智能化升级。机智云平台的生态环境如下图所示。

5.3 网关设备
网关设备选用ESP8266串口WIFI模块,模块采用串口与MCU通信,内置TCP/IP协议栈,能够实现串口与WIFI之间的转换,兼容3.3V和5V单片机系统,支持串口转WIFI STA方案,模块小巧,抗干扰能力强,性能好,稳定可靠,作为接入机智云平台的网关,可以将硬件设备连接云平台进行数据交互,实现硬件联网,wifi模块与MCU的连线图如下所示。

5.4 App开发
利用机智云平台可轻松研发属于自己的APP,APP界面可以基于已有模块自行设计,根据需求添加所需的数据点,通过WIFI模块与云平台和微处理器进行数据传输。同时,开发者在机智云平台开发智能硬件时,不仅可以很方便地使用该App对硬件设备进行调试和验证。而且可以完成机智云智能硬件的配置入网、设备搜索、设备绑定、设备登录、设备控制、远程控制、状态更新、本地远程切换等基本设备操作,创建对应的需要传输数据的数据点,数据点可以随时更新硬件设备上传到云平台的数据。

6.作品实物展示



7.总结
经过大量测试,该系统能够自动进行数据采集、传输及处理,实现了智能投喂、远程清理宠物排泄物、远程互动和净化空气等功能。当空气质量传感器检测到数据异常时,通过喷雾装置释放特殊液体达到净化空气的目的,通过压力传感器检测粮盆里食物或水的重量来判断是否需要添加食物和水,同时也可以根据用户的需求,在App端选择不同种类的食物进行投放,很好的解决了在无人照顾的情况下,宠物依旧可以正常生活的问题。另外,系统与机智云平台对接后,由云平台接管设备,云平台可以对设备进行批量开发与管理,也有效地保证了系统的稳定性。总的来说,该产品具有很大的市场应用价值和推广价值!